HAZET Bremsattel Steckschlüsseleinsatz 9mm 1/2 Zoll 12,5mm Sechskant 986-9
Anwendung:
Für Bremssattelverschraubung MERCEDES-BENZ M-Klasse (Typ 164) und R-Klasse (Typ 251), BMW X5 Bj. 2009 (E70), X6 Bj. 2008 (E71)
- Kurze Ausführung
- Mit Rändelung
- Oberfläche: TIN beschichtet
- DIN 7422
- Made In Germany
- Schlüsselweite: 9
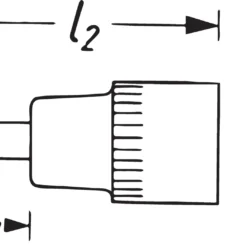
- Gesamtlänge: 60 mm
- Länge l1: 22 mm
- Antrieb: Vierkant 12,5 mm (1/2 Zoll)
- Abtrieb: Innen-Sechskant Profil
- Netto-Gewicht (kg): 0.09 kg
* = Außerhalb der DIN-Reihe
Warum TiN (Titan-Nitrid)-Beschichtung?
Spezielles Verfahren für sehr harte TiN-Beschichtung erreicht extrem hohe Haft- und Abriebfestigkeit der Schicht
Optimal geeignet bei Dauerbelastungen, z.B. Serienverschraubungen in Industrie und Handwerk
Stärkerer Verschleißschutz sichert Standzeitverbesserung
Perfekte Passgenauigkeit durch optimale Schichtstärke
Höheres Drehmoment
Optimierter Korrosionsschutz
Artikel-Nr.:
HAZET-986-9
Alternative Nr.:
HAZET 986-9
Hersteller-Nr.:
986-9
EAN:
4000896146734






















Rezensionen
Es gibt noch keine Rezensionen.